本文投稿作者孙苏赟
接上篇 史一安环氧化反应(一)—研究背景
反应条件和催化剂的发展
- 反应条件上的探究
1.1 (E)-二苯基乙烯的环氧化反应和反应时间的影响
(E)-二苯基乙烯是最初进行环氧化反应的底物之一1,测试结果发现,当反应时间延长之后,产率略有上升,但是e.e有大幅下降。
如果可以及时通过淬灭终止反应,将反应的时间控制在2小时,那么反应产物的立体选择性可以高达95% e.e.。之后的研究显示,预催化剂的分解会导致形成没有手性或是选择性交叉的酮,因此在这样的条件下得到的产物的选择性就会较差。在测试了一系列烯烃底物之后发现,相比起没有官能团化的双键,如果双键上还连有其他取代官能团,那么对应的产物的e.e.更会高一些。
1.2 (E)-苯丙烯的环氧化反应和反应的温度效应
在研究反应的温度效应时,是利用(E)-苯丙烯作为测试的底物的,上表中显示的是反应温度对反应时间的影响,在较低的温度,会得到相对更高的立体选择性。
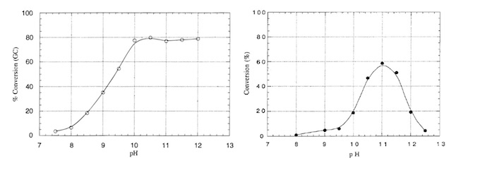
1.3 pH对反应的影响
在研究反应的pH效应时,是利用(E)-苯丙烯作为测试的底物的2。图中显示的是pH对于反应转化率的影响,当体系的pH从7上升到大于10时,反应的转化率可以提高十倍不止,但是反应的立体选择性的变化不是很大,约在92% e.e.。反应转化率的提升可能是因为副反应Baeyer-Villiger氧化反应减少的原因,同时增强了Oxone 的亲核性;但是在产生过氧化酮的过程中,对于pH的控制是至关重要的,因此史一安环氧化反应一般在pH 7-8进行3,但是当反应体系的pH降低时,反应的效率会大幅度降低,因为过小的pH会导致Oxone发生自动分解反应4。
此外,另外一个不容忽视的因素是,在较低的pH下,反应会直接发生在Oxone和双键之间,而不是Oxone氧化手性酮在发生双键的氧化过程,因此高pH时反应会产生很低的立体选择性,因此产物也不是光学纯净的。
1.4 其他氧化剂的开发和最有溶剂的筛选
曾经在1994年,有人报道过一个反应5,在pH 11时,以DCM/MeOH/H2O作为溶剂,Oxone可以直接发生环氧化反应,这是第一例在没有手性酮作为催化剂的条件下发生的环氧化反应。之后的1999年,又有人报道一例利用H2O2作为反应的氧化剂,在反应中在H2O2的作用下生成了手性过氧酮的中间体,这个反应可以快速又温和的发生。值得注意的是,在H2O2参与的反应中,只有当反应的溶剂是MeCN时反应的效率才最高,因为MeCN可以在反应中产生被氧化的产物,因此MeCN在反应中作为传递氧化性的介质的角色,而H2O2自身是不可以直接在没有MeCN的情况下将酮氧化成过氧酮的,而真正的氧化剂是反应中产生的过氧化亚胺酸。之后的研究发现,反应的最佳溶剂就是MeCN。
为了更加透彻的研究反应H2O2-MeCN体系的环氧化反应,在测试了一系列可能有利于反应的酮催化剂之后发现,二(三氟甲基)丙酮是反应活性最好的催化剂,此外反应过程的pH是反应过程中十分重要的参数。当二(三氟甲基)丙酮参与反应时,同时利用了四氢吡喃酮和MeCN-EDTA水溶液作为缓冲溶液,trans-苯丙烯作为反应底物,反应之后发现转化率基本达到了100%,着说明了二(三氟甲基)丙酮-H2O2-MeCN反应体系是很有利于环氧化反应的发生的。此外,H2O2参与到反应中来替换Oxone可以大大减少溶剂和无机盐的使用,并且H2O2产生的产物是无毒无害的水;含有氮元素的手性酮参与的反应也有了相应的研究。
- 手性酮催化剂的改进和发展
2.1 含有噁唑烷酮结构的手性酮
Ketone 2是一种含有噁唑烷酮结构片段的手性酮催化剂,这种新型的催化剂可以更加高效和立体选择性更好的催化环氧化反应6,另外的一个优势是它可以大大减少催化剂在反应中的用量,最少可至1mol%,但是依旧表现出杰出的产率和立体选择性。
2.2 (E)-双键的环氧化
顺式双键的环氧化会使得产物的立体选择性大大降低,因此ketone 2a被设计和开发了出来,ketone 2a具有ketone1类似的结构,但是有趣的是ketone 2a不能像ketone1一样对顺式双键高效的进行环氧化反应,此外ketone 2a催化的反应中,无论双键是在还上还是非环状化合物,对与和芳烃共轭的双键的环氧化反应的选择性非常好,这说明了芳环的电子效应对双键的反应具有促进的作用。并且反应过程中的过渡态是螺型过渡态,因为反应底物中含有π电子系统,更加有利于手性酮上的取代基和反应底物之间发生相互作用,并且一些共轭的顺式烯烃也有不错的表现。
在手性酮上引入芳环结构,可以有效的促进反应的效率。可能的原因是增加了手性酮和反应底物只见的苯环的π-π效应,从而加强酮和双键之间的作用,此外,在手性酮上加入了供电基团更加有利于加强这种相互作用7,有趣的是,烯烃中的苯基会促进环氧化反应的立体选择性,但是苯环上的取代基是同样很重要的。作为另一种供电基团,在o-, m-和p-位引入甲基,会分别使得增加4-7%不等的e.e.
参考文献
- J. Am. Chem. Soc., 1996, 118, 9806-9807, DOI:10.1021/ja962345g
- J. Org. Chem., 1997, 62, 2328-2329, DOI:10.1021/jo962392r
- J. Org. Chem., 1995, 60 (12), pp 3887–3889, DOI:10.1021/jo00117a046
- J. Am. Chem. Soc., 1974, 96 (25), pp 7820–7821, DOI:10.1021/ja00832a040
- Tetrahedron Lett., 1994, 35, 1577-1580, DOI:1016/S0040-4039(00)76762-1
- Tetrahedron, 2001, 57, 5213-5218, DOI: 10.1016/S0040-4020(01)00362-3
- J. Org. Chem., 2003, 68 (12), pp 4963–4965, DOI: 10.1021/jo0206770
本文版权属于 Chem-Station化学空间, 欢迎点击按钮分享,未经许可,谢绝转载!































No comments yet.